手控阀系列
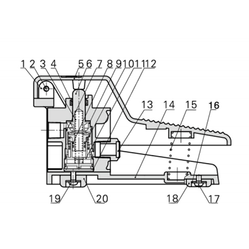
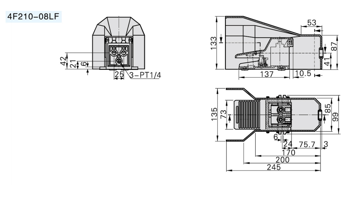
4F系列五□二位气动脚踏阀
1. 铝质踏板,直动式设计,稳定可靠;
2. 如换向保持时间较长,可选择附锁型;
3. 锁紧机构稳定可靠,解锁轻巧迅速,但受结构尺寸限制,不可以承受频繁的强力冲击;
4. 可选择使用高强度塑料保护罩
E-mail: manager@cktworld.com
下载







