薄型气缸
SDAW系列薄型双轴多位置型气缸
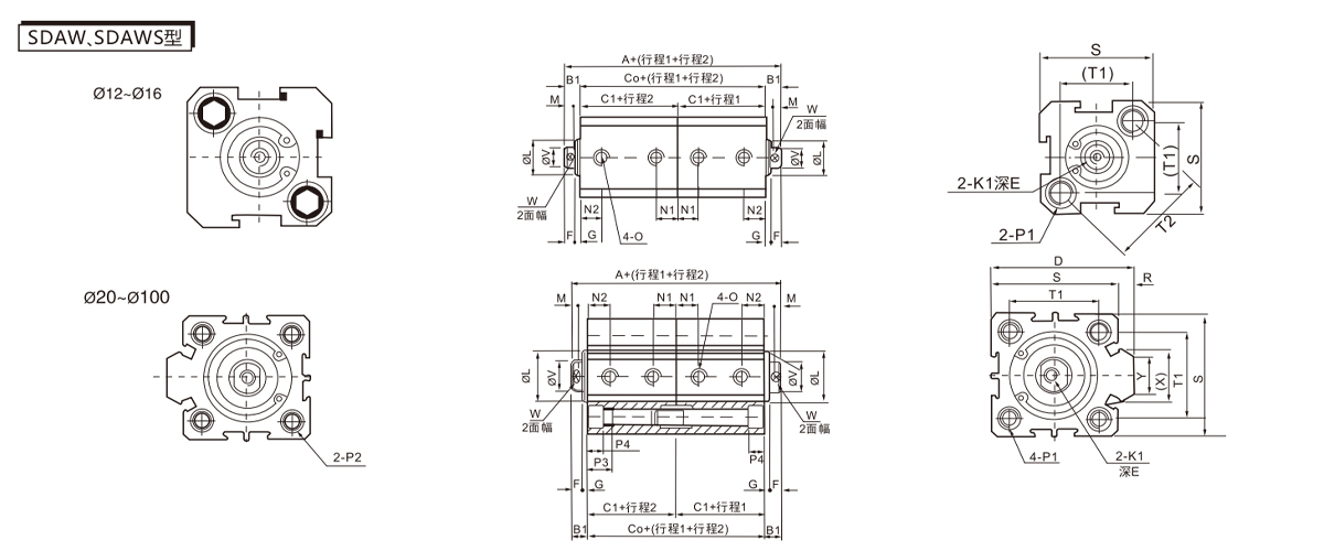
SDAW系列是专为高空间效率与多工位需求设计的薄型气缸,其双轴导向结构与多位置停驻能力,显著优化了设备布局紧凑性与运动路径的确定性。
(1)超薄机身设计
突破传统气缸厚度限制,轴向尺寸大幅压缩,适用于空间约束苛刻的自动化模块集成。
(2)双侧刚性导杆结构
平行配置的高强度导杆有效抑制活塞杆偏转力矩,保障末端执行器在复杂载荷下的轨迹精度。
(3)多位置可编程停驻
支持通过外部制动单元或阀组配置,实现行程范围内2个以上预定位置的精确锁止与重复定位。
(4)高适应性执行机构
可选配磁性开关槽道及多样化安装接口(底面/端面法兰式),适配主流自动化平台的机械/电气集成需求。
(5)轻量化动态响应
优化缸体内部流道与活塞组件,在维持输出推力前提下提升往复运动频次,满足节拍密集型工况。
E-mail: manager@cktworld.com
下载




